聚焦公司动态,解读选矿知识,剖析行业热点,分享选矿经验,我们将鑫海动态及时呈现给您。在这里,您可以更深入、更全面地了解鑫海矿业。
2016-05-10 来源:鑫海矿业 (22454次浏览)
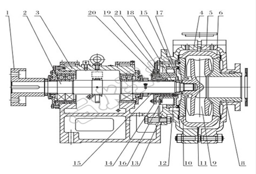
hh型渣浆泵多用于高浓度腐蚀性强或低浓度腐蚀性低得流体的输送,在电力、煤炭、冶金等行业中广泛使用。其结构如下:

其中数字1是联轴器,数字2是轴,数字3是轴承组件,数字4为泵体,数字5为泵盖,数字6为护套,数字7是护套密封垫,数字8是前护板,数字9为叶轮,数字10为后护板,数字11是泵体螺栓,数字12是水封环,数字13为填料箱,数字14是对开填料压盖,数字15为轴套,数字16为填料,数字17为副叶轮,数字18代表减压盖,数字19为密封垫,数字20是水封接头。
其系列产品型号意义以10/8ST-HH为例,10代表泵出口直径10mm,8代表泵出口直径为8mm,HH代表为高扬程渣浆泵,ST代表托架型式。Hh型渣浆泵有多种传动形式:立式皮带传动等型式、上下皮带传动,平行皮带传动,直联传动,分别用字母CV、ZVZ、CR、DC等表示。
该型泵的密封形式通常有填料密封、付叶轮密封、填料加付叶轮密封、机械密封等型式。
1、填料密封,这种轴封方式主要依靠填料和轴套挤压在一起达到密封的效果,这种轴封方式常用于选厂、洗煤厂等行业,优点是方便简单、成本低;
2、付叶轮密封,这种轴封方式主要依靠副叶轮产生的反向压头来达到密封的目的,不需其他物质进行辅助,对浆体不会产生任何影响,密封效果好,但是在渣浆泵停机时并不起轴封作用,常用于水资源匮乏的地区;
3、机械密封,采用机械的方式进行密封,泵体中不允许其他杂质进入,密封要求高,费用高、维修工作比较困难。这种轴封方式主要依靠动静环紧密压在一起达到密封效果,通常分为无注水式机械密封、注水式外冲洗机械密封、注水式内冲洗机械密封三种。
渣浆泵中若采用机械密封形式要注意工作前,轴封水要接通,运行中要保证不断供应,运行停止后继续保持轴封水接通至少三分钟,严禁出现缺水状态,以免出现因缺水造成的机械密封的损害。以上三种密封形式对hh型渣浆泵均有较好地密封效果。
内容版权归鑫海矿业所有
未经许可不可擅自使用如需转载文章
请联系我们授权
侵权必究!
ZJG渣浆泵主要用于不同工业条件下得除灰、除渣,是在自主制造的基础上,学习国外的先进技术研发的高扬程、高流量的灰渣运输动力设备,必要时可多级串联使用。
根据磨矿介质的不同,磨矿设备可分为棒磨机、球磨机、砾磨机、自磨机等。棒磨机是发展历史较长,制造生产工艺较为成熟的一种,广泛应用于生产实践和实验室中。那么实验室棒磨机与生产中棒磨机有什么区别呢?

您可以在下面表格填写您的需求信息,我们的技术与销售人员会尽快与您取得联系。为保证能及时处理您的信息,请务必准确填写您的联系电话!