聚焦公司动态,解读选矿知识,剖析行业热点,分享选矿经验,我们将鑫海动态及时呈现给您。在这里,您可以更深入、更全面地了解鑫海矿业。
2016-03-28 来源:鑫海矿业 (11620次浏览)
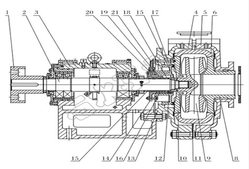
M型渣浆泵与HH型渣浆泵类似,在冶金、矿山、煤炭、电力、建材等行业中用于强磨蚀、高浓度渣浆的输送。其结构如下:

其中数字1是联轴器,数字2是轴,数字3是轴承组件,数字4为泵体,数字5为泵盖,数字6为护套,数字7是护套密封垫,数字8是前护板,数字9为叶轮,数字10为后护板,数字11是泵体螺栓,数字12是水封环,数字13为填料箱,数字14是对开填料压盖,数字15为轴套,数字16为填料,数字17为副叶轮,数字18代表减压盖,数字19为密封垫,数字20是水封接头。其系列产品型号意义以10/8ST-M为例,10代表泵出口直径10mm,8代表泵出口直径为8mm,M代表渣浆泵,ST代表托架型式。M型渣浆泵有多种传动形式:立式皮带传动等型式、上下皮带传动,平行皮带传动,直联传动,分别用字母CV、ZVZ、CR、DC等表示。
M型渣浆泵工作时,在电机的带动下渣浆泵叶轮进行高速的旋转,叶轮在旋转过程中带动周围的液体一起旋转,叶轮中心处的液体在离心力的作用下向着叶轮边缘运动,同时其动能不断增大,最终液体浸入蜗形泵壳。由于泵壳内液体的流道不断增大,因此液体的流速不断减小,静压能增大,最终液体以一定的压力从排出口排出。同时叶轮中心由于液体被甩出,其压强与大气压相比显负压,泵池内的料浆在大气压的作用下被压入泵内,就这样渣浆泵就完成了物料的持续输送。
内容版权归鑫海矿业所有
未经许可不可擅自使用如需转载文章
请联系我们授权
侵权必究!
ZJG渣浆泵主要用于不同工业条件下得除灰、除渣,是在自主制造的基础上,学习国外的先进技术研发的高扬程、高流量的灰渣运输动力设备,必要时可多级串联使用
高效浓缩机结构是在高效浓缩机设计过程中十分看重的一点,本文就以此展开。

您可以在下面表格填写您的需求信息,我们的技术与销售人员会尽快与您取得联系。为保证能及时处理您的信息,请务必准确填写您的联系电话!