聚焦公司动态,解读选矿知识,剖析行业热点,分享选矿经验,我们将鑫海动态及时呈现给您。在这里,您可以更深入、更全面地了解鑫海矿业。
2016-04-13 来源:鑫海矿业 (13069次浏览)
渣浆泵广泛用于流体的运输,因其处理能力大、效率高而被广大消费者喜爱。其中在渣浆泵的过程当中,渣浆泵蜗壳发挥着重要的作用。
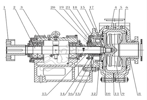
由渣浆泵结构图中我们可知渣浆泵的配件主要包括以下几个:图中数字1为前护板,数字2为叶轮,数字3为护套,数字4为托架体,数字5为轴,数字6为螺母乙,数字7为调整螺母甲,数字8为调整孔盖,数字9为减压盖,数字10为付叶伦,数字11为后护板,数字12为泵体,数字13为泵盖。

其中渣浆泵蜗壳在图中为一种类似蜗牛壳的形状,又被称为渣浆泵护套,是受流体磨损较多的过流件之一,鑫海矿山企业在设计渣浆泵蜗壳时为使损失降到很小,运用了固液两相流理论,把过流部件蜗壳等的的几何形状设计成与介质的流动状态一致,使因涡流和撞击产生的损失和沿程水力损失降低,从而使过流部件的磨损大大减轻,同时还使工作过程中产生的震动和噪音减小,效率提高,另外为延长该泵过的使用时间,其过流部件蜗壳鑫海渣浆泵厂家采用了抗冲击耐磨性能好的合金铸铁,其耐磨耐腐蚀性能大大增强。
渣浆泵作为工业输送固液物料的主要设备,其在矿山、冶金、化工、洗煤、造纸、建材等行业都有着十分巨大的需求,因此对渣浆泵蜗壳的质量要求也越来越严格。鑫海矿山企业着非常丰富的矿山总包服务经验,有着技术人员,其生产的渣浆泵蜗壳运用了先进的技术和理念,质量更优,值得广大消费者选择。
内容版权归鑫海矿业所有
未经许可不可擅自使用如需转载文章
请联系我们授权
侵权必究!
随着工业的发展,渣浆泵生产制造技术越来越成熟,其应用也也越来越广泛,渣浆泵工作时,为保证作业的顺利进行,通常采用渣浆泵机封的密封形式。
Sh渣浆泵排矿口方向在生产中可按45°间隔进行调节,因此共有8个排矿方向。当输送物料扬程较低时可用作磨蚀性较强的物料输送,在扬程较大的情况下可用于输送磨蚀性较弱的物料。在矿山、冶金、建筑、煤炭等行业有着广泛的运用。

您可以在下面表格填写您的需求信息,我们的技术与销售人员会尽快与您取得联系。为保证能及时处理您的信息,请务必准确填写您的联系电话!