聚焦公司动态,解读选矿知识,剖析行业热点,分享选矿经验,我们将鑫海动态及时呈现给您。在这里,您可以更深入、更全面地了解鑫海矿业。
2015-10-14 来源:鑫海矿业 (10544次浏览)
创新是对客户的承诺,创新是对行业的责任。创新是企业竞争不朽的灵魂,创新是企业发展不竭的动力!
鑫海注重创新,坚持以创新引导企业的发展和服务。鑫海是中国较早的集选矿设计、研究、设备制造、安装调试、达标达产、工人培训为一条龙服务(EPC)的践行者和领军者,已完成EPC项目500余个;拥有多项专利,2项部级成果;拥有120多名选矿技术人员;拥有18种矿山类专业技术人员;拥有70多种矿的选矿技术经验……
鑫海重视产品的研发,公司现有三个设计研究院,已获得了多项专利。特别是在金矿选矿设备方面,鑫海人不断努力创新,通过改进技术来提高设备的技能。
一款自吸气自吸浆机械搅拌式浮选机。
BF型浮选机分为I型和II型。改进后吸气量更大,功耗更低;每槽兼有吸气、吸浆和浮选三重功能,自称浮选回路,不需任何辅助设备,水平设备,便于流程变更。矿浆循环合理,能大限度地减少粗砂沉淀。设有矿浆面的自控和电控装置,调节方便。
自吸气、自吸浆的浮选机要求有负压。只有足够大的负压,才能将矿和气吸入,而为了足够大的负压,就需要叶轮直径大和线速度大,这就需要电机功率大,一个槽功率大,几个槽合计起来就需要很大。
一款自吸浆的充气机械搅拌式浮选机。
该机槽体与KYF型浮选机相同,不同的是在叶轮的上方设有一个盖板,以形成一个负压区,自吸矿浆。改进后搅拌能力进一步增强,气浆结合好,尾砂沉积少,圆周速度低,功耗小。
不能自吸浆的浮选机作业间需要阶梯配置,泡沫产品返回需要用泵。所以,不能“自吸浆”的浮选机存在不足。因此,建议选择“充气·自吸浆”浮选机联合机组!

浮选的过程就是矿、药、气三者互相附着的一个过程,如图所示:

鑫海新型锌粉置换机的涂装更美观,实际功能比传统的更具优势。
一套利用锌粉从贵液中提取金的系统。
锌粉置换工艺过程是由贵液净化、脱氧和锌粉压滤置换三个作业组成。在对贵液进行净化、脱氧处理之后,加入锌粉置换装置,最终得到金泥。
贵液净化——含金贵液中往往含有一些悬浮物,置换前须将其除去,以免置换效果和金泥质量受到影响。贵液净化就是除去悬浮物的过程。
脱氧处理——原贵液中的溶解氧对阻碍锌置换金,须脱除贵液中的氧,以保证锌置换金的顺利进行。
置换过滤——包括锌粉添加和置换两个作业,当在贵液中给入锌粉后,置换反应即开始进行,由置换设备完成最终的置换和金泥的过滤。


1.贵液贮池;2.澄清槽;3.脱氧塔;4.水力喷射泵;5.水泵;6.水池;7.锌粉加料机;8.锌粉混合器;9.水封泵;10.板框压滤机;11.贫液池。
传统搅拌槽存在的问题:
1、叶轮直径小、搅拌能力差;
2、叶轮线速度低,搅拌能力差;
3、因为前两点,叶轮搅拌区产生的负压小,因而循环能力差;
4、循环区和搅拌区的外围产生死角。
双层叶轮,搅拌均匀,采用多点给气,充气均匀。新型产品能耗更低;叶轮包胶,使用寿命更长。
浮选前矿浆与药剂混合搅拌槽希望达到的合理效果:gao矿浆与药充分附着。

实现逆流洗涤,容积大,洗涤效率高;比单层浓缩机占地面积小;生产稳定,操作方便。

改造一:沉降区高效化(斜板+振动)模块
将N个(斜板+振动)模块装入浓密机中。斜板增加了沉降面积;每N个斜板组成一个模块单元,上部安装有振动电机,当粘性或者胶体物料在斜板堆积时,启动振动电机,将堆积的物料震落。


鑫海新型解吸电解系统的优势更加突出。该系统高温、高压、无氰、解吸自动控制,具有效率高、速度快、能耗低的特点。
在高温(150℃)、高压(0.5MPa)的条件下,解吸率达到98%以上;解吸电解温度相同,不需换热,由于工作快速,耗电量是常规系统的1/4~1/2;无毒的解吸组合药剂含炭活化剂,对炭起到再生作用,贫炭不需火法再生,节省炭再生成本。
无氰:解吸液中不需加氰化钠,成本低,少污染;金泥品位高,不需反电解,提取容易;且具有三重保护措施,即系统自身智能化、自动限压压力释放机构及保险阀。

鑫海自主研发的试验用黄金选矿多功能一体机。
浮选:做浮选实验时,选择所需规格的浮选轴头和槽体安装在多功能机上,通过电控系统选择所需的转速,并用阀门调节充气量,电动机带动轴头叶轮在定子叶片中旋转产生负压吸入气体,气体与起泡剂搅拌形成微泡分布于矿浆中,矿浆中的捕收剂使有用矿物粘附在微泡表面上,并上浮到矿浆表面形成矿化泡沫层,刮板在电机驱动下刮出泡沫及泡沫上附着的矿物。
浸出搅拌:拆下原组件,选择所需规格的搅拌轴件及槽体。通过电控系统选择所需的搅拌转速,用阀门调节充气量,主轴在电机驱动下带动轴头转子高速旋转使加入槽中的药物、矿物与轴腔吸入的气体形成微小气泡均匀矿化或浸出有用矿物。
分散研磨:用所需规格的搅拌轴件和槽体替换功能机上的对应原组件。通过电控系统选择搅拌轴件转速,搅拌槽内填装粒径0.6-2毫米的研磨介质,槽体具有夹套,中间通冷却水,以吸收并排走研磨分散过程中所产生的热量。物料送入槽内,物料和研磨介质一道被高速转动的研磨盘强烈搅动,沿研磨盘切线方向被抛向槽壁又返回,浆流在盘间往复循环,从而使固体物料逐渐被均匀分散于液体物料中。
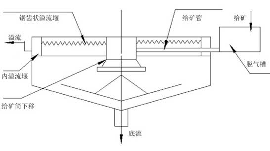
沉砂咀在线自动调整
XCⅣ型水力旋流器在沉砂咀处特别设计一个可上下调整的紧缩套筒。
随着紧缩套筒的上下移动,沉砂咀下口尺寸与上部锥筒尺寸比例关系也在相应变大和变小(从断面看,相当于倒梯形的底边在发生变化)。
沉砂咀在线的自动调整,可以准确调整沉砂嘴的大小,特别适用于细粒物料的分级和脱水,操作方便,指标波动较小。

内容版权归鑫海矿业所有
未经许可不可擅自使用如需转载文章
请联系我们授权
侵权必究!
溢流型球磨机进料及出料口的衬套联接螺栓,在长期运行下,会因频繁振动、温度过高、衬套与空心轴的间隙过大等原因,造成进出料口的松脱严重时甚至断裂,致使衬套外窜漏料甚至完全脱出,严重影正常生产。那么面对球磨机此问题,我们该如何应对呢?
完备的包装形式设计,保护好每一件产品;专业的装箱方案设计,不浪费每一个集装箱;严谨的工作作风,不漏发每一件设备;所发送的不仅仅是产品,更是方便、服务,方便货物装卸及安装,为客户所购买的产品做服务。

您可以在下面表格填写您的需求信息,我们的技术与销售人员会尽快与您取得联系。为保证能及时处理您的信息,请务必准确填写您的联系电话!